-
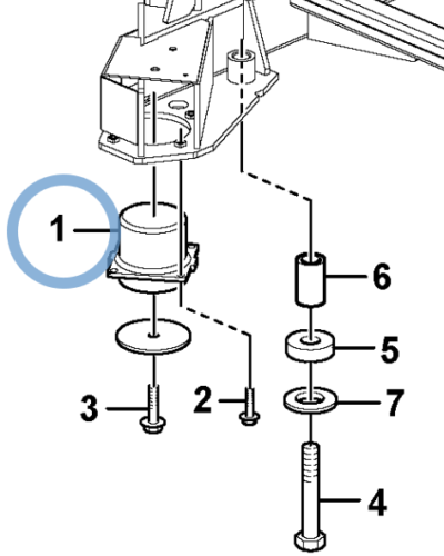
11445173 CAB SUSPENSION
$325.00Suitable for Volvo Wheel Loaders L180F HL Volvo, L90H Volvo, L220F Volvo, L110H Volvo, L180H HL Volvo, L250G Volvo, L220H Volvo, L110G Volvo, L150G Volvo, L90G Volvo, L60H Volvo, L180F Volvo, L180H Volvo, L180G Volvo, L70G Volvo, […]


